Spotted by VR Focus, the patent application shows a VR headset that is most likely powered by Tegra X1 Super Chip and has a much more compact design compared to the Oculus Rift or HTC Vive or Sony's Project Morpheus VR headsets. It also features three sets of cameras, a pair located at the bottom front of the device and one on either side of it, which could be used to map the area surrounding the user, while the front ones will be used to track gestures with "sub-millimetre movement resolution".
The Nvidia VR headset, when launched, will be most likely based on Tegra X1 SoC which packs 256 Maxwell GPU cores and is based on octa-core CPU design with four Cortex A57 and four Cortex A53 cores.
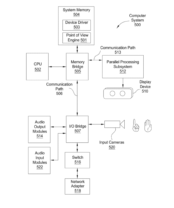
While the patent shows both audio output and input modules, what is most important is that it also packs a wireless adapter, which could be used to stream games from PC via Nvidia's GRID service.
Nvidia has announce its GameWorks VR SDK at Computex 2015 show, which is promising some great things for virtual reality.




